Page 1 of 1
Shock spring contruction
Posted: Wed Mar 16, 2022 4:45 pm
by jeffreyK
I am designing my gear and have noticed multiple Pietenpols have their shock springs constructed using a central crossover similar to the Piper cub. From each gear leg the shock strut terminates on a centrally located crossover. From there a new piece of tubing extends to both sides of the fuselage at the gear brackets. This puts both shock struts in the same plane and I like the way it looks but I'm wondering how this construct changes the force vectors on the fuselage. Reviewing the nice article in the newsletter that dealt with describing the forces on the white ash vs white ash and metal strap it is apparent that the forces of landing are compressive force vectors when the shock struts run all the way from the wheels to the gear brackets. I am wondering if during a crosswind landing when you put one wheel down first using the Piper type crossover, would that not result in a compressive force vector on the contralateral side and a distracting tension force vector on the ipsilateral side? In a rough landing might that rip the gear bracket off or damage the longeron...ouch! If some engineers are able to shed some light on this I'd love to hear it.
Re: Shock spring contruction
Posted: Wed Mar 16, 2022 11:04 pm
by taildrags
Yeah, that was my article in the Newsletter and you raise an interesting point. Let me chew on that a little while ;o) Meanwhile, let me encourage builders not to skimp on the landing gear parts, pieces, or connections- and especially not on the welds. Ask me how I know. Rough off-field landing, gear hung up on a very rough spot, weld broke, gear collapsed, plane's nose came down, dug in, and over it went on its back. Several bad welds were found in the post-incident inspection. Plane and pilot survived, rebuild was successful, and I've been happily flying it ever since.
Oscar Zuniga
Medford, OR
Air Camper NX41CC, A75 power
Re: Shock spring contruction
Posted: Thu Mar 17, 2022 10:40 am
by PoconoJohn
Glad to hear both plane and pilot were OK! Question about welding. Anything that needs welding goes to a local welding shop (they do mostly racing cars and trucks). Should I specify TIG or Oxy-acetylene? When welding flight control pieces, I saw them use gas. After I explained the landing gear fitting, they used TIG there.
John C
Re: Shock spring contruction
Posted: Thu Mar 17, 2022 3:50 pm
by taildrags
I'm not a welder, so I can't provide advice or opinion on that subject. I use a very skilled welder for all of that work. He is also a pilot and an experimental aircraft builder, so he's comfortable with doing aircraft welding.
-Oscar
Re: Shock spring contruction
Posted: Sat Mar 19, 2022 6:32 pm
by Terry Hand
In terms of welding, I can't tell you not to use gas welding. But I will tell you this - all of the welds on the gear of my Piet project were TIG welded by William Wynne.
Re: Shock spring contruction
Posted: Sat Mar 19, 2022 8:34 pm
by PoconoJohn
Thanks! The shop has been using TIG so far on gear components, so I'll expect that to continue.
John C
Re: Shock spring contruction
Posted: Sun Mar 20, 2022 7:14 am
by jeffreyK
All of the welds on my plane are TIG welds. I apprecieate the concerns about weld integrity however my question is really about whether the forward gear bracket has any real potential to be ripped off the plane with its longeron attachment if using the shock arrangement with a crossover as seen with the Pipers and some Piets as opposed to the standard shock arrangement in the plans running from wheel to contralateral longeron.
Re: Shock spring contruction
Posted: Sun Mar 20, 2022 11:44 am
by taildrags
Ah, yes... back to the original question. I assume you're talking about the same setup and geometry as I have on 41CC, and if so, I can throw in my two cents' worth on what I think the forces might be in different loadings. Is this the setup?
-Oscar
Re: Shock spring contruction
Posted: Wed Mar 23, 2022 12:12 am
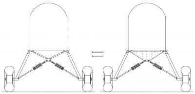
by taildrags
Let's think about this. In the conventional J-3 gear, and the gear on my airplane, the two diagonal downtubes that form the vee are welded, not bolted, onto the tops of the rectangular plates that the spring struts attach to. That being the case, they form a rigid triangular assembly that might as well be a solid plate as far as reactions and force transfers go. So:

One of the two conditions of most interest here is the hard landing, where we cut power too soon or flare too high, and whomp! we drop it it on the main gear hard. The other is where we land it in a crosswind and touch down on the downwind main, putting a hard side thrust on one or the other of the gear legs. For now, let's look at the first condition. It's clear from the sketches above that in a hard vertical drop, the main gear legs push up into the sides of the fuselage and if anything, so does the fixed vee, which mostly transfers loads up into the diagonals of the fuselage sides through the gusseted clusters. Those clusters are well able to deal with these forces. The ash crossmember under the floor holds the sides together and is also well able to deal with the forces that it sees while doing its job, whether with or without the steel strap passing underneath it and tying the steel gear and strut attach fittings together. Those steel fittings themselves are plenty good to do their part to transfer those loads to the airframe. I don't see a problem with this loading scenario. I'll think more about the side-loading from a crosswind landing and offer my thoughts on that next, but you can see where this is going.
Oscar Zuniga
Medford, OR
Air Camper NX41CC, A75 power
Re: Shock spring contruction
Posted: Wed Mar 23, 2022 10:44 am
by taildrags
Also note that in the hard landing scenario, the wing struts are applying a down force into the same attach fitting as the landing gear legs are applying an up force into, which somewhat balances or offsets the forces there. The weight of the wings as the plane hits the runway pushes the wing struts into the attach fitting. In this scenario, the horizontal component of force from both the wing struts and the gear legs introduces compressive forces into the ash crossmember in the floor, but that's what it's there for and it can handle those forces.
-Oscar
Re: Shock spring contruction
Posted: Thu Mar 24, 2022 12:14 am
by taildrags
Let's look at the side-force scenario, where there is a crosswind and the plane lands hard on the downwind side till we can get the upwind wing down and things under control.

As the plane is pushed to the downwind side and the tire contacts the runway, a force pushing the gear back the other way is set up. The spring strut compresses into the vee fitting, transmitting that load into the two attachment fittings, the fuselage sides, and the ash crosspiece in the floor. The main gear leg on the downwind side gets pushed up into that cluster as well. However, everything is nicely triangulated and without a detailed force analysis, it does not appear that any of the stress points are any worse off than any others. Experience over nearly a century has proven that the landing gear and airframe are able to deal with these kinds of loads without anything coming apart until something really hard or out of control happens. In those cases, the usual outcomes are a wingtip dragging, a gear leg collapsing, and whatever else might result from those occurrences. All of this is leading me to compare this gear arrangement with the straight-axle "Jenny style" gear and the crossed-spring (or bungee)-strut style of gear. Hmmm... newsletter article coming up-?
-Oscar
Re: Shock spring contruction
Posted: Wed May 04, 2022 5:27 pm
by jeffreyK
Thank you very much for the discussion. An in-depth review in the newsletter would be great. I can't believe it has been a month since I asked about this. I went backpacking and then became ill with a tic disease. Time flies but I'm now back to the build.
Re: Shock spring contruction
Posted: Wed May 04, 2022 6:04 pm
by Earl Brown
An excellent book on the subject.
Well worth the money if you are looking at changing/designing landing gear.
Re: Shock spring contruction
Posted: Wed May 04, 2022 11:31 pm
by taildrags
I have many of Pazmany's writings and really, really enjoying studying the "masters" on these subjects. Man oh man, imagine what would happen if you left blank sketch pads and pencils on the tables at the pub where builders and pilots hang out-! Sipping on a pint, sketching out force vectors and working out framing details- perfect "snacks" for engineers! And then if there were wooden airplane models on the tables so you could demonstrate crosswind landings in both the crab and the slip configurations on the tabletop....
-Oscar